Simplify your online presence. Elevate your brand.

320d2 Electrical Circuit Pdf

320l Electrical Circuit Pdf
320l Electrical Circuit Pdf

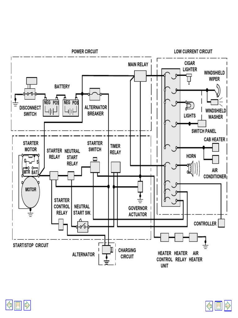
320l Electrical Circuit Pdf 320d2 electrical circuit free download as pdf file (.pdf), text file (.txt) or view presentation slides online. Relay (magnetic switch): a relay is an electrical component that is activated by electricity. solenoid: a solenoid is an electrical component that is activated by electricity. it has a coil that makes an electromagnet when current flows through it. the electromagnet can open or close a valve or move a piece of metal that can do work.

320c Circuitos Electricos Pdf
320c Circuitos Electricos Pdf

320c Circuitos Electricos Pdf It contains over 500 pages detailing the machine arrangements, engine arrangements, and individual parts that make up the basic engine, lubrication system, cooling system, air intake and exhaust systems, fuel system, electrical and starting systems, and other components. Download caterpillar 320d2 l excavator ekt electrical & hydraulic schematic manual (pdf) with detailed wiring and hydraulic diagrams for accurate diagnostics, repair, and maintenance. Download caterpillar 320d2 excavator wiring diagram manual pdf with detailed electrical schematics, circuits, layouts, and troubleshooting references. Schematic electric 320d2.pdf free download as pdf file (.pdf), text file (.txt) or view presentation slides online.

Diagrama Electrico 320 D 2 Pdf Pdf Technology Engineering
Diagrama Electrico 320 D 2 Pdf Pdf Technology Engineering

Diagrama Electrico 320 D 2 Pdf Pdf Technology Engineering Download caterpillar 320d2 excavator wiring diagram manual pdf with detailed electrical schematics, circuits, layouts, and troubleshooting references. Schematic electric 320d2.pdf free download as pdf file (.pdf), text file (.txt) or view presentation slides online. It provides complete, factory verified schematics covering all electrical and hydraulic systems, ensuring precise guidance for troubleshooting, maintenance, and repair. Home » partmanual » manual » cat 320d2 yea excavator diagrams and operation service manual pdf. Manual cat 320d2.pdf free download as pdf file (.pdf), text file (.txt) or read online for free. Download caterpillar 320d2 l excavator stn electrical & hydraulic schematic manual (pdf) with complete wiring and hydraulic diagrams for professional troubleshooting, diagnostics, and repair.

320d Sn Bzp Electric Schematic Pdf
320d Sn Bzp Electric Schematic Pdf

320d Sn Bzp Electric Schematic Pdf It provides complete, factory verified schematics covering all electrical and hydraulic systems, ensuring precise guidance for troubleshooting, maintenance, and repair. Home » partmanual » manual » cat 320d2 yea excavator diagrams and operation service manual pdf. Manual cat 320d2.pdf free download as pdf file (.pdf), text file (.txt) or read online for free. Download caterpillar 320d2 l excavator stn electrical & hydraulic schematic manual (pdf) with complete wiring and hydraulic diagrams for professional troubleshooting, diagnostics, and repair.

Comments are closed.