Simplify your online presence. Elevate your brand.

Data Acquisition Pdf

Data Acquisition Pdf Survey Methodology Effect Size
Data Acquisition Pdf Survey Methodology Effect Size

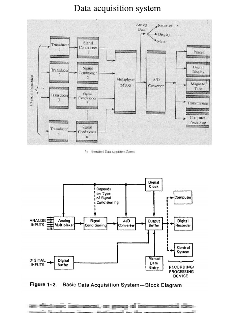
Data Acquisition Pdf Survey Methodology Effect Size This article has introduced the fundamental components of data acquisition (daq) systems, including the a ds and d a converters, multichannel architectures, system timings, signal conditioning. The goal of data acquisition is to capture a signal and encode in a form suitable for computer processing with minimum loss of information. data acquisition typically consists of three stages: transduction, analog conditioning, and analog to digital conversion.

2 Data Acquisition Pdf Computer Forensics File Format
2 Data Acquisition Pdf Computer Forensics File Format

2 Data Acquisition Pdf Computer Forensics File Format Maurizio’s new book is a comprehensive breakdown of the elements and steps involved in data acquisition, from the fundamentals through to the hardware and software needed, to final design examples. 14 f data acquisition systems importantparameters for example, suppose you configure your a d converter to sample at a rate of 4 samples per second (4 s s or 4 hz), and the signal of interest is a 1 hz sine wave. because the signal frequency is one fourth the sampling rate, then according to the nyquist theorem, it should be completely. Data acquisition and conversion systems are used to acquire analog signals from one or more sources and convert these signals into digital form for analysis or transmission by end devices such as digital computers, recorders, or communications networks. In today’s era, no one would consider designing any product be it large, small vehicles, machinery without applying a data acquisition system to test it’s safety, durability, performance and reliability.

Data Acquisition Processing Theory Guide Pdf
Data Acquisition Processing Theory Guide Pdf

Data Acquisition Processing Theory Guide Pdf Data acquisition and conversion systems are used to acquire analog signals from one or more sources and convert these signals into digital form for analysis or transmission by end devices such as digital computers, recorders, or communications networks. In today’s era, no one would consider designing any product be it large, small vehicles, machinery without applying a data acquisition system to test it’s safety, durability, performance and reliability. Ingful insights. in simple terms, data acquisition is the first step in the data pro essing pipeline. it involves capturing raw data and converting it into a format that can be easily analyzed. this process is critical in various fields, including engineering, scientific research, healthcare, and bu. St need to implement a suitable data strategy. mckinsey (2013) describes three key aspects to build a data driven strategy, the first being to choose the right data to be acquired. managers can get creative with external sources like social media conversations or focus on more traditional approaches, e. This paper delves into the fundamental concepts that underpin data acquisition, including the types of data, sources, and formats involved. X estimator. this block implements a numerical algorithm or formula that gets the data from the adc and calculates the number xm, consisting in an estimate of x.

Data Aquisition Download Free Pdf Sensor Analog To Digital Converter
Data Aquisition Download Free Pdf Sensor Analog To Digital Converter

Data Aquisition Download Free Pdf Sensor Analog To Digital Converter Ingful insights. in simple terms, data acquisition is the first step in the data pro essing pipeline. it involves capturing raw data and converting it into a format that can be easily analyzed. this process is critical in various fields, including engineering, scientific research, healthcare, and bu. St need to implement a suitable data strategy. mckinsey (2013) describes three key aspects to build a data driven strategy, the first being to choose the right data to be acquired. managers can get creative with external sources like social media conversations or focus on more traditional approaches, e. This paper delves into the fundamental concepts that underpin data acquisition, including the types of data, sources, and formats involved. X estimator. this block implements a numerical algorithm or formula that gets the data from the adc and calculates the number xm, consisting in an estimate of x.

Data Acquisition Pdf Data Acquisition Electronics
Data Acquisition Pdf Data Acquisition Electronics

Data Acquisition Pdf Data Acquisition Electronics This paper delves into the fundamental concepts that underpin data acquisition, including the types of data, sources, and formats involved. X estimator. this block implements a numerical algorithm or formula that gets the data from the adc and calculates the number xm, consisting in an estimate of x.

Comments are closed.